如何做到“1个商标带来1亿用户”?商标的价值到底有多
2020-09-15 01:58:00

注册商标

注册商标对一个公司来说有多么重要,这个观点华鑫峰多次讲过。今天再给大家伙讲讲如何做到“1个商标带来1亿用户”的案例。


请问您可通过“大姨吗”?这个商标不得了。

大姨吗问世于2012年,是一款以经期健康为核心的APP。其功能包括经期记录、经期预测、易孕期预测等,同时也是国内活跃的移动女性社区。截止到2016年6月,“大姨吗”的注册用户已超过1亿,日活跃用户超过500万。

说起这款APP,从商标名字上就非常的传奇。相信商标注册人一定都非常清楚,商标局对于商标名字的审查非常严格,除了商标近似外,还要考虑是否会“造成不良影响”。至于什么样的商标会造成“不良影响”,尺度则在审查员自己心中。

因此在一般人看来,“大姨吗”谐音“大姨妈”,在社会上长期被指代为“女性经期”,是很有可能以“造成不良影响”被驳回的。

注册商标


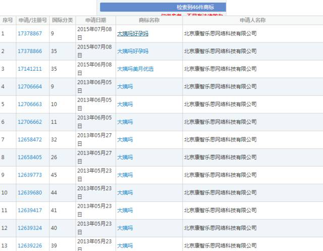
然而北京康智乐网络科技有限公司,一口气拿下了46个“大姨吗”的商标。商标的直观性和一点“小奇葩”为APP前期宣传带来了不小的帮助,“大姨吗”与APP提供的服务很好的对应上。从2017年上半年开始,大姨吗已经实现全面盈利,全年营收规模将达到2.15亿元,毛利润将超过30%。

对于一款做经期管理工具的APP来说,大姨吗这个商标与提供的服务有很大的关联性,帮助公司在市场上迅速站稳了脚跟。

从大姨妈APP身上我们也可以看出,一个好的商标带来的价值比想象中的还要巨大。但在商标资源越来越匮乏的当下,想要获得一个满意的商标,需要更加丰富的创意加上执行力,才不会与商标失之交臂喔~

以上内容部分来自网络,版权归原作者所有,若有侵权请联系删除。

华鑫峰提醒:如果您需要一个独特又有价值的商标,可以右侧咨询客服或者拨打热线4008-617-099。另外我们华鑫峰还可以为您免费注册深圳公司的哟。

我们的优势
上门服务

支持POS机刷卡

最快1小时上门交接资料

专业服务

具有10年以上财务工作经验

严格按照新三板财务标准做账

价格透明

拒绝隐形消费

价格全称透明合理

支付随心

支付宝扫码支付、POS机刷卡

微信扫码支付、现金收款